网站首页 | 公司简介 | 产品展示 | 新品推荐 | 产品应用 | 网上留言 | 联系我们
 塑料拖链系列
 普通型工程塑料拖链
 承重型工程塑料拖链
 钢制拖链系列
 TL型钢制拖链
 TLG型钢制拖链
 TLG型银星护板
 JR-2型矩形金属软管
 机床防护罩系列
 柔性风琴式防护罩
 盔甲式机床防护罩
 钢板机床导轨防护罩
 卷帘式防护罩
 防护帘及防尘折布
 伸缩式丝杠保护套
 螺旋钢带保护套
 排屑器系列
 刮钣式除屑输送机
 链钣式除屑输送机
 螺旋式除屑输送机
 YSCB磁性板式排屑机
 HRLG复合式排屑装置
 HRGB磁刮板式排屑机
 输送|排屑链钣系列
 软管|接头系列
 刮屑板系列
 机床操作件系列
 机床工作灯系列
 机床冷却管系列
 导管防护套系列
 方钢螺旋簧
 工量具系列
 
PL平板链式排屑装置
特点和用途:

每组磁性材料最大的吸附量是固定的,排屑量可根据输送速度、每组磁性材料间距来改变
主要输送长度在50mm以下的导磁断屑、碎屑、粉末屑。
广泛应用于数控机床、组合机床生产线、加工中心等切削加工机床导磁切屑的输送。
可与其它形式的排屑机、过滤机组合使用,达到主机的不同要法语,有冷却油输送效果不理想。
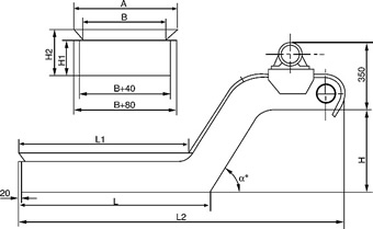
各部位的外形尺寸,冷却淮箱可根据切削机床的不同而设计制造。
 

尺寸 
L
L1
L2
A
B
H
H1
H2
A
 型号
YSCB-100
<=5m
<=L
<=7m
>=B

100

800

100
>=100
0度、30度
45度、60度
75度、90度
YSCB-130
<=8m
<=10m
130
>=130
YSCB-170
<=15m
<=18m
170
>=170
YSCB-200
<=25m
<=28m
210
>=210
YSCB-X
沧州国兰机械制造有限公司 版权所有  中国工量具信息网 技术支持
联系电话:0317-6353851 13673170806