网站首页 | 公司简介 | 产品展示 | 新品推荐 | 信息资讯 | 网上留言 | 联系我们   
 塑料拖链系列
 普通型工程塑料拖链
 承重型工程塑料拖链
 钢制拖链系列
 TL型钢制拖链
 TLG型钢制拖链
 TLG型银星护板
 JR-2型矩形金属软管
 机床防护罩系列
 柔性风琴式防护罩
 盔甲式机床防护罩
 钢板机床导轨防护罩
 卷帘式防护罩
 防护帘及防尘折布
 伸缩式丝杠保护套
 螺旋钢带保护套
 排屑器系列
 刮钣式除屑输送机
 链钣式除屑输送机
 螺旋式除屑输送机
 YSCB磁性板式排屑机
 HRLG复合式排屑装置
 HRGB磁刮板式排屑机
 输送|排屑链钣系列
 软管|接头系列
 刮屑板系列
 机床操作件系列
 机床工作灯系列
 机床冷却管系列
 导管防护套系列
 方钢螺旋簧
 工量具系列

机床减振垫铁

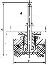
S78-7系列机床减振垫铁(高档型)

S78-7系列机床减振垫铁(高档型)
 
型号
s78-7-01
s78-7-02
s78-7-03
s78-7-04
外径(D)
mm
80
120
160
200
inches
3_5/32
4_23/32
6_5/16
7-7/8
高度(H)
mm
49
56
67
80
inches
1_59/64
2_13/64
2_41/64
3_5-32
螺纹(d)
mm
M10
M12
M16
M20
可调高度
mm
10
10
12
14
inches
25/64
25/64
15/32
9/16
单件承载
F(N)
800-4000
3100-7500
7000-12000
11000-48000
 
查看其它型号机床减振垫铁
 
 
  塑料拖链 钢制拖链 排屑输送机 排屑链板 机床防护罩 机床工作灯 导管防护套 软管接头 机床垫铁 冷却管 操作件 友情链接 站点地图
沧州国兰机械制造有限公司 版权所有  中国工量具信息网 技术支持
联系电话:0317-